1
/
av
2
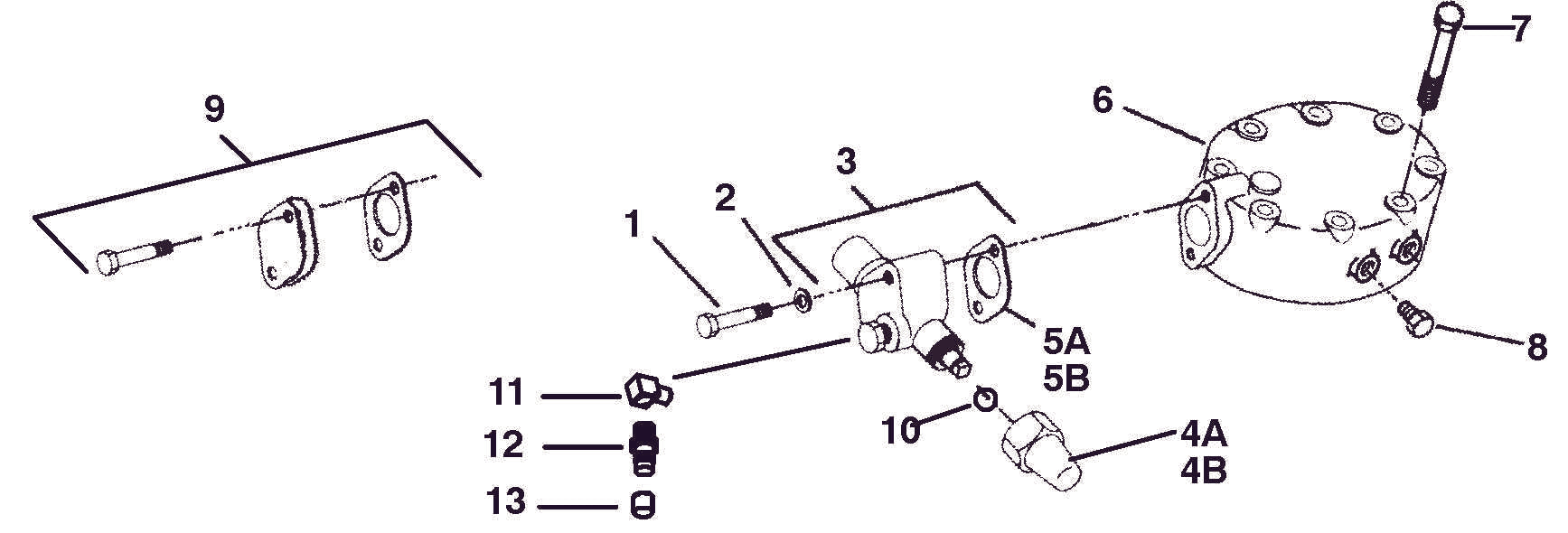
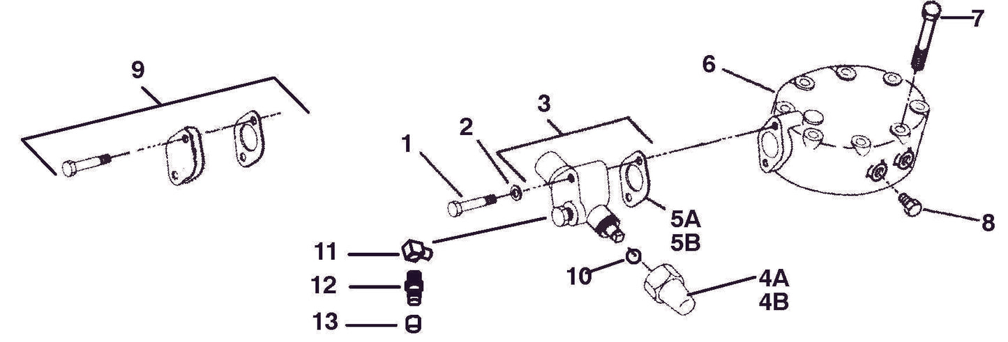
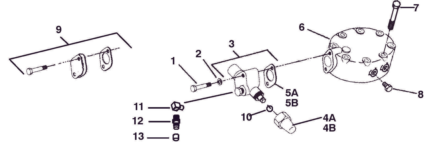
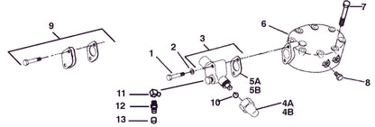
17-10811-05 / FIBER GASKET SERVICE VALVE Kompressor
17-10811-05 / FIBER GASKET SERVICE VALVE Kompressor
Ordinarie pris
39 SEK
Ordinarie pris
Försäljningspris
39 SEK
Skatter ingår.
FIBER GASKET Kompressor 05K2, 05K4, 05G.
5A på bild 2.
Lager plats: B4.1
Share
