1
/
av
2
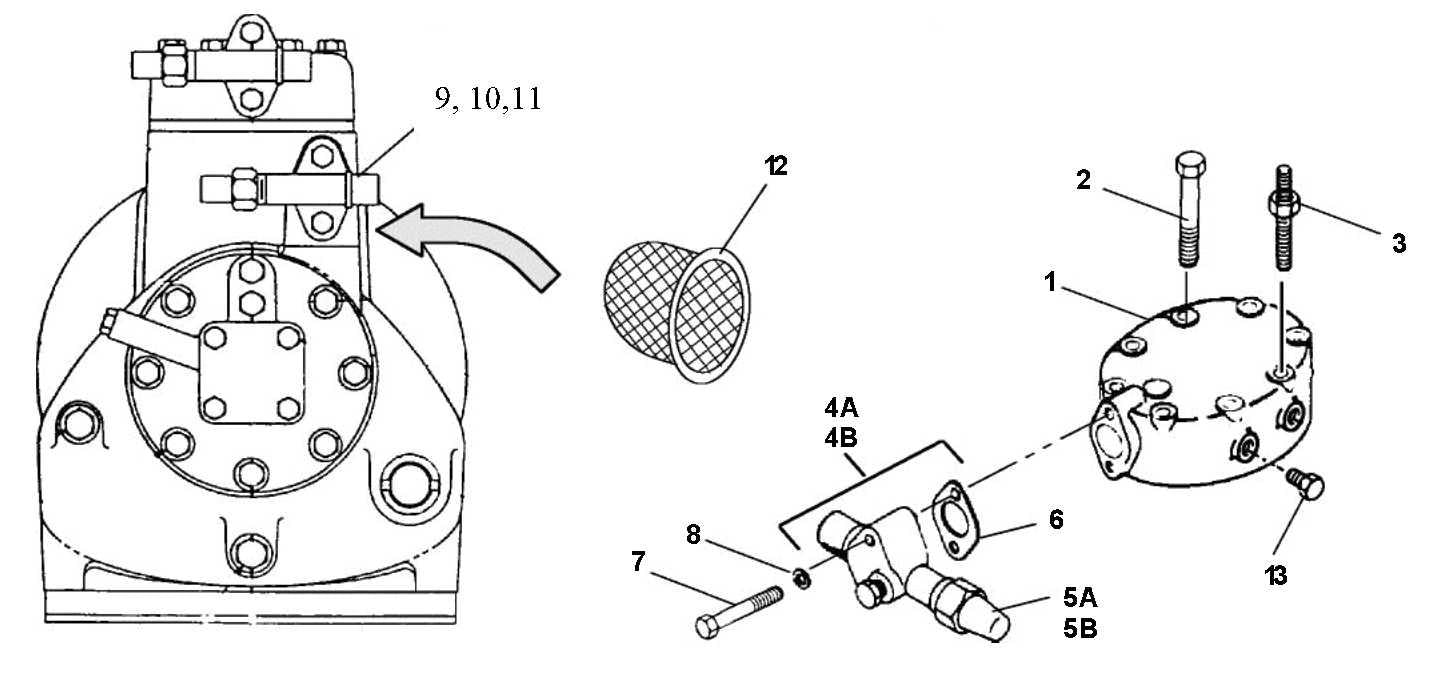
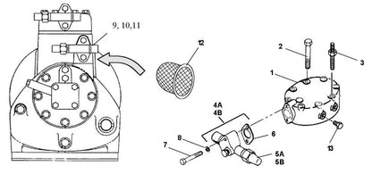
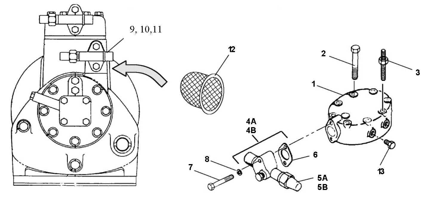
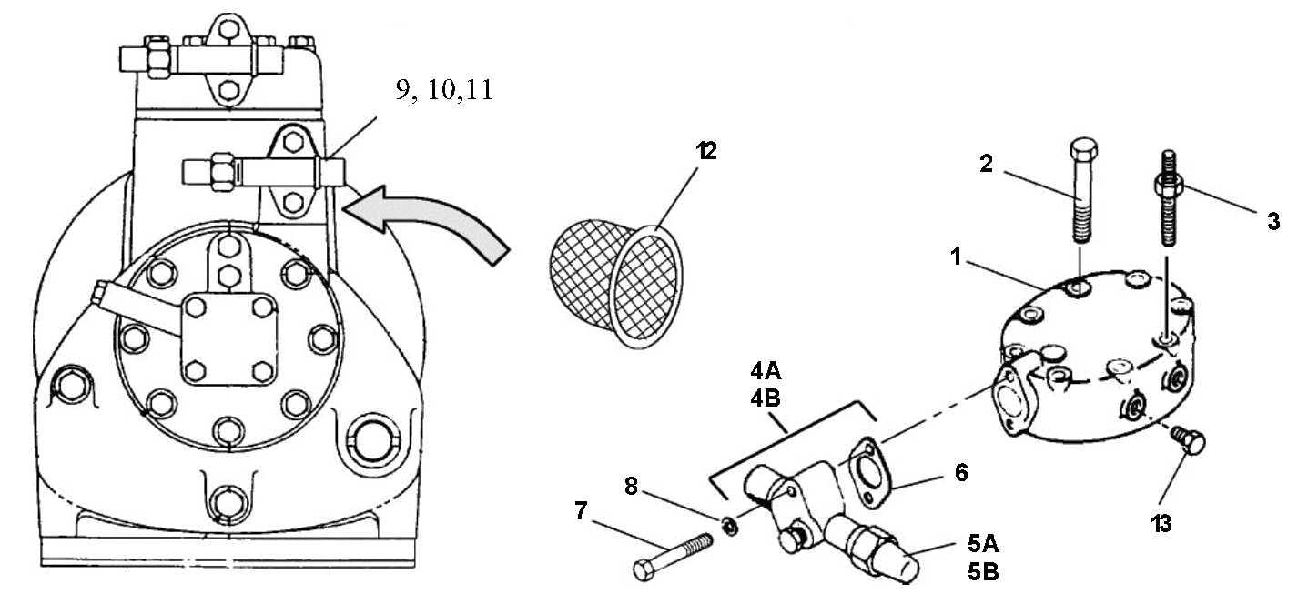
17-21003-00 / GASKET SER VLV Kompressor
17-21003-00 / GASKET SER VLV Kompressor
Ordinarie pris
25 SEK
Ordinarie pris
Försäljningspris
25 SEK
Skatter ingår.
GASKET SER VLV Kompressor
Nr: 6 på bild 2.
Lager plats: B4.1
Share
