1
/
av
2
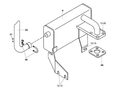
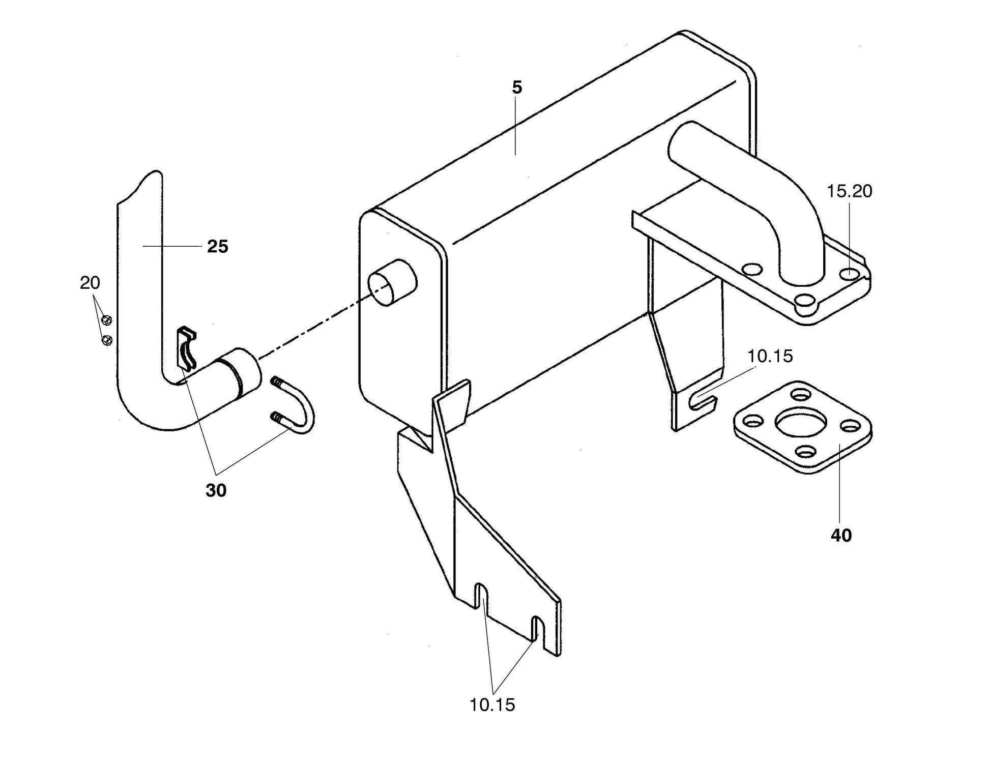
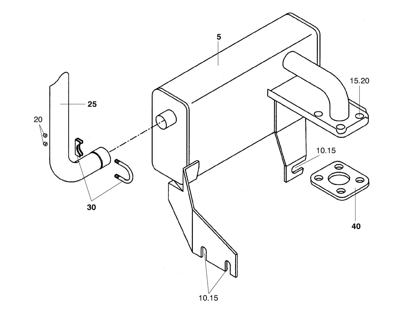
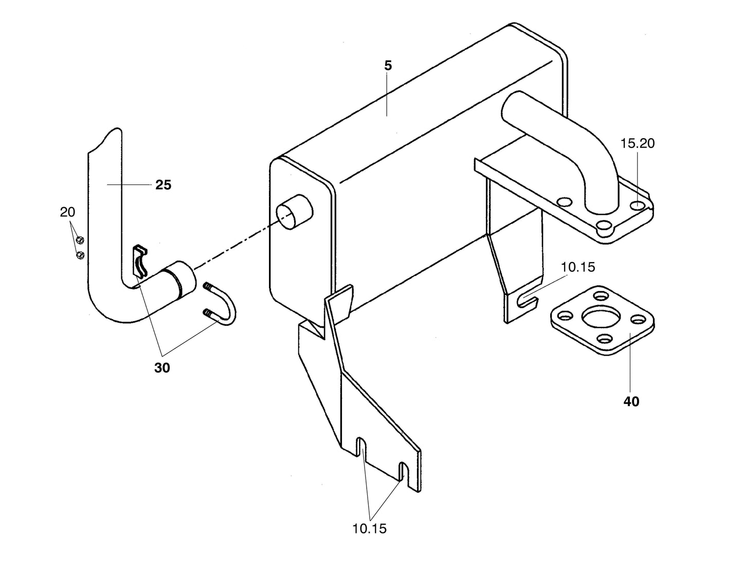
25-33020-00 / Gasket, Muffler
25-33020-00 / Gasket, Muffler
Ordinarie pris
358 SEK
Ordinarie pris
Försäljningspris
358 SEK
Skatter ingår.
Gasket, Muffler / Pris per styck.
Nr: 40 på bild 2.
lager plats: B4.1
Share
